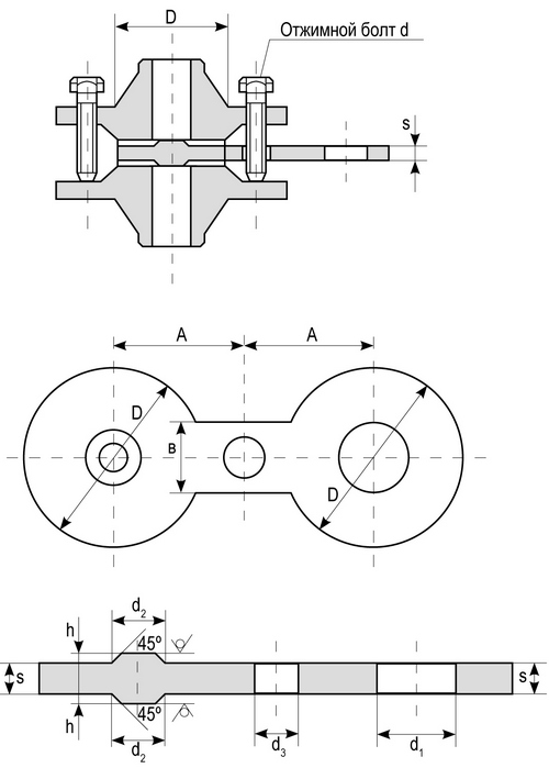
Заглушка поворотная Т ММ 25 01 06 состоит из соединенных между собой двух элементов — заглушки и рукоятки приваренной сваркой.
Поворотная заглушка Т ММ 25 01 06 - фото - 2

Поворотная заглушка Т ММ 25 01 06

Заглушка поворотная Т ММ 25 01 06 состоит из соединенных между собой двух элементов — заглушки и рукоятки приваренной сваркой.
  • Технические характеристики

Заглушка поворотная Т ММ 25 01 06 состоит из соединенных между собой двух элементов — заглушки и рукоятки приваренной сваркой.

Заглушка (обтюратор) удобный вид запорной арматуры. Они используются для герметичного перекрытия участка трубопровода на период проведения ремонтных, реконструкционных, опресовочных, сервисных или других работ.

Заглушки поворотные Т ММ используются при температуре -70à+ 650°С.

Для изготовления заглушек подбирают марку стали способную хорошо переносить длительную эксплуатацию в определенных условиях.

Стальные заглушки в зависимости от допустимого давления выпускаются в трех вариантах:

  • Плоские поворотные — для фланцев с поверхностью уплотнительной №1 по стандарту 12815-80. Рассчитаны на давление 6-25 кгс/см2
  • Впадина-Выступ — для фланцев с поверхностью №2 и №3. Рассчитаны на давление 6-100 кгс/см2 для фланцев
  • Паз-Шип — для фланцев с поверхностью №4 и №5. Рассчитаны на давление 6-100 кгс/см2 для фланцев

В промышленности поворотные заглушки используют перекрытия для газовых, нефтяных, энергетических, наполненных химически агрессивными средами трубопроводов и трубопроводов сетей ЖКХ.

Преимущества

Поворотные заглушки просты в изготовлении, не имеют трущихся и подвижных деталей, поэтому не повреждаются при длительной эксплуатации. Гарантируют надежное перекрытие участка трубопровода. Себестоимость заглушек намного меньше себестоимости задвижек, запорных клапанов, шаровых кранов и т.д. с аналогичными характеристиками (Py и Dy).

Недостатки

Перекрытие трубопровода поворотной заглушкой занимает много времени. Возможность частичного перекрытия трубопроводного отверстия не предусмотрена.

Отсечение потока осуществляется извлечением или установкой поворотных заглушек с рукояткой.

СПбЗКи предлагает услуги по изготовлению поворотных заглушек Т ММ 25 01 06 в Санкт-Петербурге крупным и мелким оптом под заказ. Доступные цены, гарантия качества.

Технические характеристики

Заглушка поворотная Т ММ 25 01 06 состоит из соединенных между собой двух элементов — заглушки и рукоятки приваренной сваркой.

Заглушка (обтюратор) удобный вид запорной арматуры. Они используются для герметичного перекрытия участка трубопровода на период проведения ремонтных, реконструкционных, опресовочных, сервисных или других работ.

Заглушки поворотные Т ММ используются при температуре -70à+ 650°С.

Для изготовления заглушек подбирают марку стали способную хорошо переносить длительную эксплуатацию в определенных условиях.

Стальные заглушки в зависимости от допустимого давления выпускаются в трех вариантах:

  • Плоские поворотные — для фланцев с поверхностью уплотнительной №1 по стандарту 12815-80. Рассчитаны на давление 6-25 кгс/см2
  • Впадина-Выступ — для фланцев с поверхностью №2 и №3. Рассчитаны на давление 6-100 кгс/см2 для фланцев
  • Паз-Шип — для фланцев с поверхностью №4 и №5. Рассчитаны на давление 6-100 кгс/см2 для фланцев

В промышленности поворотные заглушки используют перекрытия для газовых, нефтяных, энергетических, наполненных химически агрессивными средами трубопроводов и трубопроводов сетей ЖКХ.

Преимущества

Поворотные заглушки просты в изготовлении, не имеют трущихся и подвижных деталей, поэтому не повреждаются при длительной эксплуатации. Гарантируют надежное перекрытие участка трубопровода. Себестоимость заглушек намного меньше себестоимости задвижек, запорных клапанов, шаровых кранов и т.д. с аналогичными характеристиками (Py и Dy).

Недостатки

Перекрытие трубопровода поворотной заглушкой занимает много времени. Возможность частичного перекрытия трубопроводного отверстия не предусмотрена.

Отсечение потока осуществляется извлечением или установкой поворотных заглушек с рукояткой.

СПбЗКи предлагает услуги по изготовлению поворотных заглушек Т ММ 25 01 06 в Санкт-Петербурге крупным и мелким оптом под заказ. Доступные цены, гарантия качества.

Санкт-Петербургский Завод крепежных изделий © 2025г. Все права защищены
Адрес
СПб, г. Колпино, б-р Трудящихся, дом 2, лит. А., пом. 13-Н, офис 1
Яндекс.Метрика